Терапия при изолированной боли И ГИПЕРТРОФИИ ПЕРВОЙ ТЫЛЬНОЙ МЕЖКОСТНОЙ МЫШЦЫ
Рахимибаргани С. (Rahimibarghani S.) 1,
Агагазвини Л. (Aghaghazvini L.) 2,
Ширзад Н. (Shirzad N.) 1,
Фатех Х. (Fateh H.)1, 3
1 Отделение физиотерапии и реабилитации, больница Шариати, Тегеранский университет медицинских наук, Тегеран, Иран
2 Отделение радиологии, больница Шариати, Тегеранский университет медицинских наук, Тегеран, Иран
3 Отделение нейромышечных исследований, Тегеранский университет медицинских наук, Тегеран, Иран
Инъекции ботулотоксина могут быть эффективным средством от персистирующей боли и функциональных нарушений, связанных с гипертрофией первой тыльной межкостной мышцы. Это нехирургическая, минимально инвазивная альтернатива для тех, кому не помогло консервативное лечение, демонстрирующая терапевтический потенциал ботулотоксина для лечения схожих скелетно-мышечных нарушений. Гипертрофия скелетных мышц может быть вызвана разными факторами, в том числе врожденными нарушениями, силовыми тренировками, перенапряжением, нейромышечными нарушениями, компенсаторной реакцией или системными заболеваниями. Однако в изолированном виде гипертрофия определенной мышцы, например первой тыльной межкостной мышцы, встречается нечасто. Тыльная межкостная мышца играет важную роль в работе кисти руки, в частности там, где требуется сила захвата и щипка. Гипертрофия и связанная с ней боль могут приводить к ограничениям функциональности и инвалидности, снижая качество жизни пациента. Ботулотоксин — это нейротоксин высокой мощности с доказан - ной эффективностью при коррекции различных скелетно-мышечных нарушений. Он хорошо зарекомендовал себя при спа - стике, дистонии мышц и миофасциальном болевом синдроме. Уникальная способность ботулотоксина направленно ингибировать сокращения определенных мышц бесценна в медицине, так как позволяет облегчить страдания пациентов и повысить качество их жизни.
КЛИНИЧЕСКИЙ СЛУЧАЙ
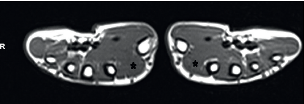
В клинику обратилась 38-летняя праворукая женщина с прогрессирующей болью и отечностью в первом тыльном межпальцевом промежутке справа в течение 10 месяцев. Пациент - ка отметила, что боль усиливается при работе рукой и ослабляется в покое, но даже после длительного отдыха не исчезает полностью. Повторяющиеся действия, такие как письмо, усиливали проявления симптомов. По шкале количественной оценки интенсивность боли составила 10 вовремя повторяющихся движений руки, например при письме, и 5 в покое. На изменения чувствительности или какие-либо прочие сопутствующие симптомы жалоб не было. Работа пациентки не связана с активными или повторяющимися движениями рук, физически - ми упражнениями она не занималась, на музыкальных инструментах не играла, травмы в анамнезе отсутствовали. Физикальный осмотр показал заметное увеличение первого тыльного межпальцевого пространства справа. Покраснения, шелушения или изменений в составе кожи не отмечено. Пальпация обнаружила твердое чувствительное неподвижное образование, без повышения температуры и флюктуации. Движения руки ограничены из-за болезненности, особенно при захвате. Также вследствие боли сила захвата правой кисти оказалась меньше, чем левой. Чувствительность к легкому прикосновению и уколу булавкой сохраняется по всей кисти и пальцам. Признаки неврологической недостаточности и других системных нарушений отсутствуют. Дифференциальная диагностика проводилась с опухолью мягких тканей, опухолью влагалища мышцы или сухожилия, ганглиозной кисты, локализованного миозита, растяжения мышцы и нейрогенной гипертрофии. Был проведен ряд исследований с целью изучить образование и исключить возможные проблемы. Лабораторные анализы оказались в пределах нормы. Рентген кисти отклонений не показал, а УЗИ обнаружило увеличение тыльной межкостной мышцы. МРТ указала на слабую гипертрофию данной мышцы при сохранной архитектуре и обычной интенсивности сигнала (рис. 1).
РИС. 1. МРТ обеих рук (Т1-взвешенный аксиальный срез). Первые тыльные межпальцевые мышцы (ТТМ) показа - ны звездочкой. Видно небольшое укрупнение с правой стороны.
Признаков опухоли, а также ка - ких-либо аномальных структур или сосудистых образований обнаружено не было. Результаты исследования проводимости нервов были в пределах нормы, а электромиография показа - ла нормальный уровень рекрутирования двигательных единиц и морфологию, без каких-либо признаков денервации. Пациентка уже неоднократно обращалась к врачам, полу - чая консервативную терапию нестероидными противовоспалительными препаратами, физиотерапию, акупунктуру и местные инъекции кортикостероидов. Однако все эти вмешательства помогали лишь минимально. После беседы о возможных вариантах лечения пациентка согласилась на инъекцию ботулотоксина. В условиях стерильности тыльную межкостную мышцу локализовали с помощью электромиографии (рис. 2), затем ввели в нее препарат ботулотоксина общим объемом 10 единиц иглой G 30 через одну точку инъекции. Пациентке было рекомендовано избе - гать физических нагрузок после инъекции.
РИС. 2. Инъекция ботулотоксина под контролем элек - тромиографии.
РЕЗУЛЬТАТЫ
РИС. 3. До инъекции ботулотоксина (значительное увеличение объема ткани в первом тыльном межпальцевом пространстве правой руки).
РИС. 4. Спустя один месяц после инъекции ботулотоксина.
РИС. 5. Спустя три месяца после инъекции ботулотоксина.
РИС. 6. Спустя шесть месяцев после инъекции ботулотоксина.
Спустя неделю после инъекции пациент - ка сообщила о значительном облегчении боли. Выраженность боли уменьшилась до 1–2 по численной шкале, а женщина смогла выполнять повседневные задачи без дискомфорта. Были назначены контрольные визиты через один, три и шесть месяцев. Для оценки прогресса на последующих визитах использовался опросник нарушений способностей верхних конечностей (DASH). Исходный балл по DASH составлял 70, что со - ответствует значительному ухудшению. При первом контрольном визите (четыре недели после инъекции) балл по DASH уменьшился до 35. При следующем визите (12 недель после инъекции) показатель улучшился до 20, а при последнем, спустя 24 недели, со - ставил 23,3. Физикальный осмотр спустя три и шесть месяцев после процедуры указал на существенное уменьшение образования (рис. 3–6).
Пациентка сообщила о стабильном уменьшении боли и восстановлении полной функциональности руки. ВЫВОДЫ Идиопатическая гипертрофия тыльной межкостной мышцы — редкое явление, характеризующееся асимметричным увеличением мышцы без четко понятной причины. Часто та - кое состояние бывает сложно диагностировать, так как про - явлениями оно схоже с другими мышечными нарушениями, такими как истинные или ложные опухоли. Различать истинные причины помогает МРТ, поскольку идиопатическая гипертрофия обычно не вызывает аномальной интенсивностисигналов и не подсвечивает объемных образований. В данном случае пациентка жаловалась прежде всего на болезненность и утолщение первого тыльного межпальцевого пространства, при этом очевидные причины, факторы риска или связанные симптомы отсутствовали. В целом гипертрофия мышц — это нормальная физиологическая реакция на повышенную физическую активность или механическую нагрузку. Однако кроме вышеперечисленных этиологических предпосылок гипертрофию мышцы могут вызывать компенсаторные механизмы при надрыве сухожилия или мышцы либо воспалении тканей. В данном случае гипертрофия у пациентки не была обусловлена физическими упражнениями или нагрузкой: в такой ситуации изменениям подвергаются обычно группы мышц, а не одна отдельная мышца. К нарушениям, не связанным с опухолями, но напоминающим истинные или ложные опухоли, относятся повреждения мышц (растяжение, перегрузка, гематома, ушиб), воспаление или инфекция, грыжа мышцы, а также аномалии развития мышц кисти (дополнительные, гипертрофированные, аномальные продолжения проксимальных мышц). Чтобы правильно определять те или иные состояния, необходим тщательный сбор анамнеза, физикальный осмотр и изучение сопутствующих симптомов. Дополнительными возможностями в этой ситуации обладает МРТ. Обычно повреждения мышц и воспаления приводят к изменению характера сигнала или отеку, особенно в острой фазе. При грыже мышцы имеется выступающий элемент. Дополнительные же мышцы или гипертрофия дают примерно такой же сигнал МРТ, как и обычные мышцы. Кроме того, после радикулопатии или давнего полиомиелита возможна очаговая нейрогенная гипертрофия. Помочь выявить эти нарушения может электромиография. Коррекция гипертрофии отдельной мышцы может выполняться несколькими способами, в том числе путем симптоматического лечения анальгетиками против боли, хирургической редукции мышцы, а также инъекции ботулотоксина. Инъекция ботулотоксина — метод простой и минимально инвазивный. Его действие основано на ингибировании высвобождения ацетилхолина на нейромышечном синапсе, в результате которого мышца расслабляется, а гипертрофия сокращается. Инъекция временно парализует выбранную мышцу, приводя к снижению ее гиперактивности, повышению функциональности и сокращению длительности и частоты болевых ощущений. В целом инъекции ботулотоксина представляются адекватным методом лечения идиопатической мышечной гипертрофии, позволяющим снимать боль, улучшать функциональность и сокращать объем мышц. Побочных эффектов в приведенном выше случае отмечено не было.
ИСТОЧНИК
Rahimibarghani S., Aghaghazvini L., Shirzad N., Fateh H.R. Botulinum toxin therapy for isolated first dorsal interosseous muscle pain and hypertrophy: A case report. Clin Case Rep. 2024; 12 (7): e9094. Published 2024 Jun 23. doi: 10.1002/ ccr3.9094.
